Artículos en esta sección

iCUE Elite Capellix: Cómo instalar el refrigerante líquido para CPU iCUE Elite Capellix en zócalos Intel

html

Necesitas ayuda para instalar tu refrigeración líquida para CPU iCUE Elite Capellix? Tenemos instrucciones en video y por escrito para ayudarte. Estas instrucciones son aplicables a los sockets de Intel.

También puedes encontrar un PDF del manual de instrucciones aquí.

Instrucciones en video

Paso 1: Preparar el socket de la placa base

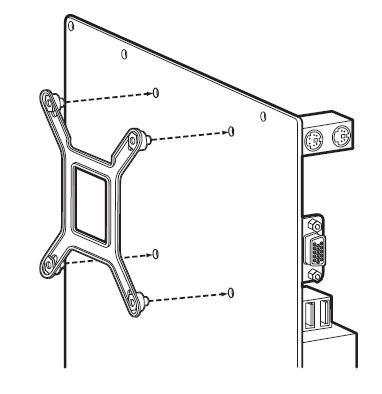
Si tienes un socket LGA 11XX / 12XX, necesitarás instalar la placa trasera de Intel incluida y los separadores LGA 11XX / 12XX.

Si tienes un socket LGA 2011, 2011-3 o 2066, no necesitas instalar una placa trasera. Solo necesitas instalar los separadores apropiados.

Para preparar el socket de tu placa base:

  1. Instala la placa trasera de Intel si tu placa base lo requiere.
    elite_capellix_intel_backplate_installation.jpg
  2. Instala los 4 tornillos separadores de Intel en tu placa base. Asegúrate de que todos los tornillos estén apretados de forma segura.
    elite_capellix_intel_standoffs_installation.jpg

Paso 2: Instalar el enfriador

Una vez que hayas instalado los separadores en tu placa base, es hora de instalar el enfriador.

NOTA: La cabeza de la bomba de tu enfriador debe tener pasta térmica aplicada. Si deseas usar tu propia pasta térmica, asegúrate de limpiar a fondo la placa fría de la cabeza de la bomba y el disipador de calor integrado (IHS) de tu procesador con alcohol isopropílico y un paño sin pelusa.

  1. Instala los ventiladores y el conjunto del radiador en tu sistema de PC.
    • Utiliza las arandelas incluidas al asegurar los tornillos fuera de tu carcasa de PC.
  2. Alinea los soportes de la cabeza de la bomba con los cuatro tornillos separadores en tu placa base.
  3. Ajusta los tornillos de mariposa de los separadores hasta que la cabeza de la bomba esté segura.
  4. Conecta el cable tach de la bomba al encabezado CPU_FAN de tu placa base.
    • También debes enrutrar los cables desde la cabeza de la bomba hacia la parte trasera de tu sistema.

Paso 3: Conectar los ventiladores y la bomba al iCUE Commander CORE

Una vez que tu enfriador esté instalado en tu placa base, es hora de conectar los ventiladores y la bomba al iCUE Commander CORE.

  1. Encuentra un lugar adecuado en tu sistema donde se pueda montar el iCUE Commander CORE.
  2. Monta tu Commander CORE usando la cinta de doble cara.
  3. Conecta el cable de 24 pines del Elite Capellix al puerto apropiado de tu Commander CORE.
  4. Conecta los cables PWM y LED de tus ventiladores al Commander CORE.
    • NOTA: El Commander CORE puede admitir hasta 6 ventiladores CORSAIR PWM RGB.
  5. Conecta el cable USB del Commander CORE a un encabezado USB 2.0 disponible en tu placa base.
  6. Conecta el cable de alimentación de la bomba a un conector de alimentación SATA de tu fuente de alimentación.
    elite_capellix_commander_core_installation.jpg
¿Fue útil este artículo?
Usuarios a los que les pareció útil: 277 de 741