Articoli in questa sezione

iCUE Elite Capellix: Come installare il dissipatore CPU liquido iCUE Elite Capellix per socket Intel

html

Hai bisogno di aiuto nell'installazione del tuo dissipatore CPU liquido iCUE Elite Capellix? Abbiamo video e istruzioni scritte per aiutarti. Queste istruzioni sono valide per i socket Intel.

Puoi trovare anche un PDF del manuale di istruzioni qui.

Istruzioni video

Passo 1: Prepara il socket della scheda madre

Se hai un socket LGA 11XX / 12XX, dovrai installare la piastra posteriore Intel inclusa e i distanziali LGA 11XX / 12XX.

Se hai un socket LGA 2011, 2011-3 o 2066, non è necessario installare una piastra posteriore. Tutto ciò che devi fare è installare i distanziali appropriati.

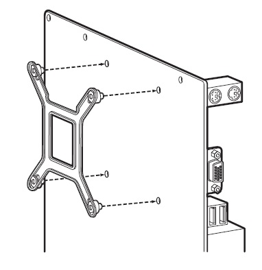
Per preparare il socket della scheda madre:

  1. Installa la piastra posteriore Intel se la tua scheda madre lo richiede.
    elite_capellix_intel_backplate_installation.jpg
  2. Installa le 4 viti distanziali Intel sulla tua scheda madre. Assicurati che tutte e 4 le viti siano serrate fino a quando sono ben fissate.
    elite_capellix_intel_standoffs_installation.jpg

Passo 2: Installa il dissipatore

Una volta installati i distanziali sulla tua scheda madre, è il momento di installare il dissipatore.

NOTA: La testa della pompa del tuo dissipatore dovrebbe avere già applicata la pasta termica. Se desideri utilizzare la tua pasta termica, assicurati di pulire accuratamente la piastra fredda della testa della pompa e il dissipatore di calore integrato (IHS) del tuo processore con alcol isopropilico e un panno privo di pelucchi.

  1. Installa le ventole e l'assemblaggio del radiatore nel tuo sistema PC.
    • Utilizza le rondelle incluse quando fissi le viti all'esterno del tuo case PC.
  2. Allinea i supporti della testa della pompa con le quattro viti distanziali sulla tua scheda madre.
  3. Serrare le viti a farfalla dei distanziali fino a quando la testa della pompa è ben fissata.
  4. Collega il cavo tach della pompa all'intestazione CPU_FAN della tua scheda madre.
    • Dovresti anche far passare i cavi dalla testa della pompa verso la parte posteriore del sistema.

Passo 3: Collega le ventole e la pompa all'iCUE Commander CORE

Una volta che il tuo dissipatore è installato sulla scheda madre, è il momento di collegare le ventole e la pompa all'iCUE Commander CORE.

  1. Trova un luogo adatto sul tuo sistema dove è possibile montare l'iCUE Commander CORE.
  2. Monta il tuo Commander CORE utilizzando il nastro biadesivo.
  3. Collega il cavo a 24 pin dell'Elite Capellix alla porta appropriata sul tuo Commander CORE.
  4. Collega i cavi PWM e LED delle tue ventole al Commander CORE.
    • NOTA: Il Commander CORE può supportare fino a 6 ventole RGB CORSAIR PWM.
  5. Collega il cavo USB del Commander CORE a un'intestazione USB 2.0 disponibile sulla tua scheda madre.
  6. Collega il cavo di alimentazione della pompa a una presa di alimentazione SATA dal tuo alimentatore.
    elite_capellix_commander_core_installation.jpg
Questo articolo ti è stato utile?
Utenti che ritengono sia utile: 277 su 741