Artykuły w tej sekcji

iCUE Elite Capellix: Jak zainstalować chłodzenie cieczą iCUE Elite Capellix na procesory Intel

html

Potrzebujesz pomocy przy instalacji chłodzenia cieczą CPU iCUE Elite Capellix? Mamy dla Ciebie instrukcje wideo i pisemne, które pomogą Ci w montażu. Te instrukcje dotyczą gniazd Intela.

Możesz także znaleźć instrukcję obsługi w formacie PDF tutaj.

Instrukcje wideo

Krok 1: Przygotuj gniazdo płyty głównej

Jeśli masz gniazdo LGA 11XX / 12XX, musisz zainstalować dołączoną płytę montażową Intela i dystanse LGA 11XX / 12XX.

Jeśli masz gniazdo LGA 2011, 2011-3 lub 2066, nie musisz instalować płyty montażowej. Wystarczy zainstalować odpowiednie dystanse.

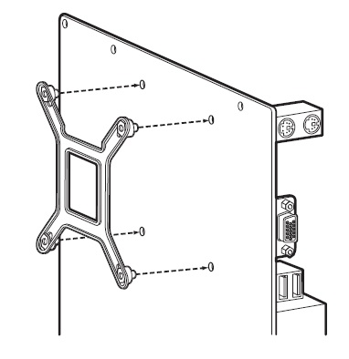
Aby przygotować gniazdo płyty głównej:

  1. Zainstaluj płytę montażową Intela, jeśli wymaga tego Twoja płyta główna.
    elite_capellix_intel_backplate_installation.jpg
  2. Zainstaluj 4 śruby dystansowe Intela na płycie głównej. Upewnij się, że wszystkie 4 śruby są dokładnie dokręcone.
    elite_capellix_intel_standoffs_installation.jpg

Krok 2: Zainstaluj chłodzenie

Gdy masz zamontowane dystanse na płycie głównej, nadszedł czas na zainstalowanie chłodzenia.

UWAGA: Głowica pompy chłodzenia powinna mieć już nałożoną pastę termoprzewodzącą. Jeśli chcesz użyć własnej pasty termoprzewodzącej, upewnij się, że dokładnie wyczyszczysz płytę chłodzącą głowicy pompy oraz zintegrowany rozpraszacz ciepła (IHS) procesora za pomocą izopropanolu i ściereczki bezpyłowej.

  1. Zainstaluj wentylatory i zespół radiatora w swoim systemie PC.
    • Użyj dołączonych podkładek podczas mocowania śrub poza obudową PC.
  2. Wyrównaj uchwyty głowicy pompy z czterema śrubami dystansowymi na płycie głównej.
  3. Dokręć śruby zaciskowe dystansów, aż głowica pompy będzie stabilnie zamocowana.
  4. Połącz kabel tachometryczny pompy z nagłówkiem CPU_FAN na płycie głównej.
    • Powinieneś także poprowadzić kable z głowicy pompy do tyłu systemu.

Krok 3: Podłącz wentylatory i pompę do iCUE Commander CORE

Gdy Twoje chłodzenie jest zainstalowane na płycie głównej, nadszedł czas, aby podłączyć wentylatory i pompę do iCUE Commander CORE.

  1. Znajdź odpowiednie miejsce w swoim systemie, gdzie można zamontować iCUE Commander CORE.
  2. Zamocuj swojego Commander CORE za pomocą taśmy dwustronnej.
  3. Podłącz kabel 24-pinowy Elite Capellix do odpowiedniego portu na Commander CORE.
  4. Podłącz kable PWM i LED swoich wentylatorów do Commander CORE.
    • UWAGA: Commander CORE może obsługiwać do 6 wentylatorów CORSAIR PWM RGB.
  5. Podłącz kabel USB Commander CORE do dostępnego nagłówka USB 2.0 na płycie głównej.
  6. Podłącz kabel zasilania pompy do złącza zasilania SATA z zasilacza.
    elite_capellix_commander_core_installation.jpg
Czy ten artykuł był pomocny?
Liczba użytkowników, którzy uważają ten artykuł za przydatny: 277 z 741