Artigos nessa seção

iCUE Elite Capellix: Como instalar o cooler líquido para CPU iCUE Elite Capellix em soquetes Intel

Precisa de ajuda para instalar o seu cooler de CPU líquido iCUE Elite Capellix? Temos instruções em vídeo e por escrito para ajudar você. Essas instruções são aplicáveis aos soquetes Intel.

Você também pode encontrar um PDF do manual de instruções aqui.

Instruções em vídeo

Passo 1: Preparar o soquete da placa-mãe

Se você tiver um soquete LGA 11XX / 12XX, será necessário instalar a placa traseira Intel incluída e os espaçadores LGA 11XX / 12XX.

Se você tiver um soquete LGA 2011, 2011-3 ou 2066, não será necessário instalar uma placa traseira. Tudo o que você precisa fazer é instalar os espaçadores apropriados.

Para preparar o soquete da placa-mãe:

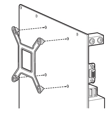
  1. Instale a placa traseira Intel se sua placa-mãe exigir.
    elite_capellix_intel_backplate_installation.jpg
  2. Instale os 4 parafusos de espaçador Intel na sua placa-mãe. Certifique-se de que todos os 4 parafusos estejam apertados até ficarem seguros.
    elite_capellix_intel_standoffs_installation.jpg

Passo 2: Instalar o cooler

Depois de instalar os espaçadores na sua placa-mãe, é hora de instalar o cooler.

NOTA: A cabeça da bomba do seu cooler deve ter pasta térmica aplicada. Se você deseja usar sua própria pasta térmica, certifique-se de limpar completamente a placa fria da cabeça da bomba e o dissipador de calor integrado (IHS) do seu processador com álcool isopropílico e um pano livre de fiapos.

  1. Instale os ventiladores e o conjunto do radiador no seu sistema de PC.
    • Use as arruelas incluídas ao fixar os parafusos fora do gabinete do seu PC.
  2. Alinhe os suportes da cabeça da bomba com os quatro parafusos de espaçador na sua placa-mãe.
  3. Aperte os parafusos de polegar dos espaçadores até que a cabeça da bomba esteja segura.
  4. Conecte o cabo tach da bomba ao cabeçalho CPU_FAN da sua placa-mãe.
    • Você também deve rotear os cabos da cabeça da bomba para a parte de trás do seu sistema.

Passo 3: Conectar os ventiladores e a bomba ao iCUE Commander CORE

Depois de instalar o seu cooler na placa-mãe, é hora de conectar os ventiladores e a bomba ao iCUE Commander CORE.

  1. Encontre um local adequado no seu sistema onde o iCUE Commander CORE possa ser montado.
  2. Monte seu Commander CORE usando a fita dupla face.
  3. Conecte o cabo de 24 pinos do Elite Capellix à porta apropriada no seu Commander CORE.
  4. Conecte os cabos PWM e LED dos seus ventiladores ao Commander CORE.
    • NOTA: O Commander CORE pode suportar até 6 ventiladores CORSAIR PWM RGB.
  5. Conecte o cabo USB do Commander CORE a um cabeçalho USB 2.0 disponível na sua placa-mãe.
  6. Conecte o cabo de energia da bomba a uma tomada de energia SATA da sua fonte de alimentação.
    elite_capellix_commander_core_installation.jpg
Esse artigo foi útil?
Usuários que acharam isso útil: 277 de 741