此段落內的文章

水冷散熱器:如何安裝適用於 Intel 插槽的 iCUE Elite Capellix 液體 CPU 散熱器

需要協助安裝 iCUE Elite Capellix 液體 CPU 散熱器嗎?我們有影片和書面說明來幫助您。這些說明僅適用於 Intel 插槽。

您也可以在這裡找到說明書的PDF版本。

 

影片說明

 

步驟1:準備主機板插座

如果您有 LGA 11XX / 12XX 腳位插座,您需要安裝附帶的 Intel 背板和 LGA 11XX / 12XX 支架。

如果您有 LGA 2011、2011-3 或 2066 腳位插座,則無需安裝背板,您只需要安裝適當的支架即可。

準備主機板插座:

  1. 如果您的主機板需要,請安裝 Intel 背板。
    elite_capellix_intel_backplate_installation.jpg
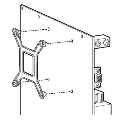
  2. 將 4 個 Intel 支架螺絲安裝到主機板上。確保所有 4 個螺絲都緊固牢固。
    elite_capellix_intel_standoffs_installation.jpg

 

步驟2:安裝散熱器

一旦在主機板上安裝了支架,就可以安裝散熱器了。

注意:您的冷卻器幫浦頭應該已經塗上導熱膏。如果您想使用自己的導熱膏,請確保使用異丙醇和無絨布徹底清潔泵浦頭的冷板和處理器的整合式散熱器 (IHS)。

  1. 在您的 PC 系統中安裝風扇和散熱器組件。
    • 在PC機箱外固定螺絲時,請使用附帶的墊圈。
  2. 將泵浦頭的支架與主機板上的四個支架螺絲對齊。
  3. 將支架的拇指螺絲緊固,直到泵浦頭固定。
  4. 將泵浦頭的轉速速計電纜連接至主機板的 CPU_FAN 接頭連接器。
    • 您還應該將電纜從泵頭佈線到系統背面。

 

步驟3:將風扇和泵浦連接到iCUE Commander CORE

一旦您的散熱器安裝到主機板上,就該將風扇和泵浦連接到 iCUE Commander CORE了。

  1. 在系統上找到一個合適的位置,可以安裝 iCUE Commander CORE。
  2. 使用雙面膠帶安裝您的 Commander CORE。
  3. 將 Elite Capellix 的 24-pin 電纜連接到 Commander CORE 上的適當端口。
  4. 將風扇的 PWM 和 LED 電纜連接到 Commander CORE。
    • 注意:Commander COR E最多可支持 6 個 CORSAIR PWM RGB 風扇。
  5. 將 Commander CORE USB 連接線連接至主機板上可用的 USB 2.0 接頭連接器。
  6. 將泵浦電源電纜連接到電源供應器的 SATA 電源插頭。
    elite_capellix_commander_core_installation.jpg
這篇文章是否有幫助?
741 人中有 277 人覺得有幫助